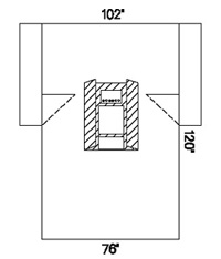
HYH89225 Drape Lap/cholecystectomy 102X76X120 10/cs
- Laparoscopic/Cholecystectomy Drape, 102in. x 76in. x 120in., Sterile. Features: 12 1/2in. x 13in. Abdominal Fenestration, Line Control Flaps, Control Fabric Reinforcement, Tube Holders, Armboard Covers.









